| Autor |
Spannung an einem Stationär-Benzinmotor erkennen und auswerten, wie mache ich das? Suche nach: spannung (45774) |
|
|
|
|
BID = 937325
Hugohugo Gelegenheitsposter
 
Beiträge: 72
|
|
Wohlverstanden, es geht um die Diode, welche verhindert, dass der Akku das Zeitrelais weiter ansteuert, wenn der Motor aus ist. Sie ist Teil meiner angebauten Elktronik und hat nichts zu tun mit Gleichrichtung einer angeblichen Wechselspannung.
Von daher brauche ich diese Diode im Vorfeld. Was soll ich an die Lima hängen, wenn nicht meine Elektronik (Zeitrelais, Diode, Akku, Schalter, alles gemäss Skizze)?
Diese Diode muss nach meiner Einschätzung den maximalen Ladestrom abkönnen und soll wohl so wenig Spannungsverlust wie möglich produzieren. Oder irre ich da? |
|
BID = 937331
rasender roland Schreibmaschine
    
Beiträge: 1802 Wohnort: Liessow b SN
|
|
Für den Fall würde ich ein Relais nehmen das anzieht sobald der
Motor läuft und so das Zetrelais mit Spannung versorgt.
Aber um Dich nicht noch mehr zu verwirren und dies hier
weiter ausufern zu lassen höre ich mal auf.
Ständig kommen hier neue Forderungen hinzu.
Ratschläge werden nicht wahrgenommen oder ignoriert.
Mein letzter Tipp. Beauftrage jemanden der Ahnung davon hat und
nicht lernresisdent ist.
_________________
mfg
Rasender Roland |
|
BID = 937337
Hugohugo Gelegenheitsposter
 
Beiträge: 72
|
Das System hat sich seit Beginn grundlegend verändert auf Grund wertvoller Infos, welche ich hier erhielt. Dies kann man negativ sehen ("neue Forderungen" und "lernresistent") oder positiv im Sinne einer Weiterentwicklung. Ich sehe es sehr positiv. Zu Beginn war die Rede von Druckdetektion, jetzt läuft es über eine Lima mit Spannungserkennung - eine viel elegantere Lösung. Besten Dank für die wertvolle Diskussion, welche dazu führte.
Wieso ein Relais vor das Zeitrelais? Das Zeitrelais sollte doch durch den Akku geschützt sein vor allfälliger Ueberspannung der Lima. Oder besteht da trotzdem eine Gefahr?
Ist ein Relais weniger gefährdet als ein Zeitrelais?
Für mich ist der Weiterbau im Moment blockiert, da ich nicht weiss, welche Diode ich einsetzen soll. Diese ist, soweit ich das verstanden habe, unbestritten. Aber welche soll es nun sein?
|
BID = 937344
Hugohugo Gelegenheitsposter
 
Beiträge: 72
|
|
BID = 937347
rasender roland Schreibmaschine
    
Beiträge: 1802 Wohnort: Liessow b SN
|
Zitat :
Hugohugo hat am 8 Sep 2014 23:22 geschrieben :
|
Wohlverstanden, es geht um die Diode, welche verhindert, dass der Akku das Zeitrelais weiter ansteuert, wenn der Motor aus ist. Sie ist Teil meiner angebauten Elktronik und hat nichts zu tun mit Gleichrichtung einer angeblichen Wechselspannung.
|
Keine Ahnung wie man das einzig mit einer Diode verhindern will.
Aber man lernt ja immer dazu.
Anbei mal eine Skizze (mit Paint auf Arbeit gemacht) wie
ich es machen würde. In der Hoffnung alle Deine Forderungen
berücksichtigt zu haben.
Sicher ist Deine Verwirrung jetzt komplett. Daher ja der Tipp
einem Wissenden damit zu beauftragen.
_________________
mfg
Rasender Roland
[ Diese Nachricht wurde geändert von: rasender roland am 9 Sep 2014 10:51 ]
|
BID = 937348
Hugohugo Gelegenheitsposter
 
Beiträge: 72
|
Es kam kein Anhang mit.
Ein paar Postings vorher ist eine Skizze mit handschriftlichen Ergänzungen, da ist die Diode und die Schaltung ersichtlich.
|
BID = 937349
rasender roland Schreibmaschine
    
Beiträge: 1802 Wohnort: Liessow b SN
|
Zitat :
Hugohugo hat am 9 Sep 2014 10:48 geschrieben :
|
Ein paar Postings vorher ist eine Skizze mit handschriftlichen Ergänzungen, da ist die Diode und die Schaltung ersichtlich.
|
Die Schaltung ist nur Murks.
_________________
mfg
Rasender Roland
|
BID = 937353
der mit den kurzen Armen Urgestein
     
Beiträge: 17437
|
Hallo Roland Die Schaltung ging von einer Ungeregelten Lima , wie sie bei solchen Kleinmotoren und bei Mopeds nun mal häufig vorkommen aus. Da wird die Spannung nur durch die Last begrenzt und deshalb spielt die Ausgangsspannung der Lima da auch keine Rolle. Der Akku zieht die Ausgangsspannung runter. Selbst bei 15 bis 18 Volt wird da das Zeitrelais noch nicht gefährdet. Da wie ich vermute die "Lima" nur eine simple Lichtspule ist. Habe ich nicht umsonst geschrieben er soll erst mal warten bis das Teil da ist. Erst dann kann eine sinnvolle Lösung erarbeitet werden !
Edit: auch evl unter Einsatz eines Thyristors der die Lichtspule bei zu hoher Spannung kurzschließt.
_________________
Tippfehler sind vom Umtausch ausgeschlossen.
Arbeiten an Verteilern gehören in fachkundige Hände!
Sei Dir immer bewusst, dass von Deiner Arbeit das Leben und die Gesundheit anderer abhängen!
[ Diese Nachricht wurde geändert von: der mit den kurzen Armen am 9 Sep 2014 11:37 ]
|
BID = 937354
rasender roland Schreibmaschine
    
Beiträge: 1802 Wohnort: Liessow b SN
|
@dmdkA
Mit der Art der Lichtspule hast Du sicher Recht.
Wahrscheinlich ist da nichtmal eine Diode geschweige
Greatz Brücke drin.
Der Akku dient ja dazu die Spannung für Verbraucher schön
glattzubügeln.
Von daher halte ich es für kontraproduktiv das
Zeitrelais vom Akku zu entkoppeln mit einer Diode
und direkt an die Spule zu legen so wie in der
letzten Skizze von HogoHugo.
_________________
mfg
Rasender Roland
|
BID = 937356
Hugohugo Gelegenheitsposter
 
Beiträge: 72
|
Vielen Dank für die Skizze!
Verstehe ich das richtig:
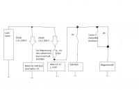
Akku und Zeitrelais werden jetzt durch ein Relais entkoppelt, statt durch eine Diode?
Die 5A Diode verhindert, dass der Akku das Relais ansteuert, wenn der Motor aus ist?
Nicht klar ist mir der Sinn der 1A Diode. Kann denn vom Relais Strom zurück fliessen?
Ebenso unklar: was ist der Vorteil, Akku und Zeitrelais via Relais zu entkoppeln gegenüber der Entkoppelung via Diode?
Ich zweifel die Skizze keinesfalls an, ich verstehe sie lediglich nicht vollständig.
|
BID = 937360
rasender roland Schreibmaschine
    
Beiträge: 1802 Wohnort: Liessow b SN
|
Zitat :
Hugohugo hat am 9 Sep 2014 12:18 geschrieben :
|
Akku und Zeitrelais werden jetzt durch ein Relais entkoppelt, statt durch eine Diode? |
richtig
Zitat :
|
Die 5A Diode verhindert, dass der Akku das Relais ansteuert, wenn der Motor aus ist? |
Auch.
In erster Linie dient sie um den Akku mit Gleichspannung zu laden.
Zitat :
|
Nicht klar ist mir der Sinn der 1A Diode. Kann denn vom Relais Strom zurück fliessen? |
Wenn Du ein Wechselspannungsrelais verwendest kannst Du die
auch weglassen.
Zitat :
|
Ebenso unklar: was ist der Vorteil, Akku und Zeitrelais via Relais zu entkoppeln gegenüber der Entkoppelung via Diode? |
Es ist der Plan wie ich ihn aufbauen würde.
Es mag auch anders funktionieren.
Nur es gibt ja auch Leute die ohne Akku arbeiten wollen.
Für den Fall wäre das ZR gefährdet bei der Variante mit Diode.
_________________
mfg
Rasender Roland
[ Diese Nachricht wurde geändert von: rasender roland am 9 Sep 2014 13:49 ]
|
BID = 937361
Hugohugo Gelegenheitsposter
 
Beiträge: 72
|
Die ersten Punkte sind nun klar. Die Dioden stellen sicher, dass ein Gleichstrom raus kommt, kein Wechselstrom. Danke.
Unklar ist der letzte Punkt. Bei Betrieb ohne Akku bekommt das ZR die Spannung der "Lima" via Relais. Die Spannung liegt dann direkt am ZR an, lediglich die Diode ist davor. Oder lese ich das falsch?
Bei der Lösung nur mit Diode und ohne Relais liegt die Spannung ebenfalls direkt an, lediglich die Diode ist davor. Also bekommt das ZR in beiden Fällen die selbe Spannung von der "Lima". Oder lese ich das falsch?
Vermutlich mach eich einen Denkfehler, aber welchen?
|
BID = 937362
der mit den kurzen Armen Urgestein
     
Beiträge: 17437
|
Wie wäre es wenn du dich mal etwas mit den Grundlagen zu Generatoren und insbesonderem mit der Gleichspannungserzeugung beschäftigst. Die Lima bei Motoren besteht nicht nur aus der Spule und dem Magnetsystem. http://de.wikipedia.org/wiki/Lichtmaschine.
Bei diesen kleinen Motoren wird durch die Schwungscheibe mit eingebauten Permamentmagneten in der Spule eine Wechselspannung erzeugt! Je nach Belastung kann diese Spannung völlig zusammenbrechen oder Werte weit über 100 V erreichen!
_________________
Tippfehler sind vom Umtausch ausgeschlossen.
Arbeiten an Verteilern gehören in fachkundige Hände!
Sei Dir immer bewusst, dass von Deiner Arbeit das Leben und die Gesundheit anderer abhängen!
|
BID = 937363
Hugohugo Gelegenheitsposter
 
Beiträge: 72
|
Ja, ich habe verstanden, dass die Spannung aus der "Lima" möglicherweise schädlich ist. Mir ist nun unklar, wie ein Relais, das den Strom weiter leitet, die nachfolgenden Bauteile besser schützt, als dies ohne Relais der Fall wäre.
|
BID = 937364
der mit den kurzen Armen Urgestein
     
Beiträge: 17437
|
Gar nicht! Den ein Relais ist nur ein durch das elektromagnetische System des Relais betätigter Schalter. Dein Zeitrelais enthält intern eine Elektronik und die kann sehr empfindlich durch Wechselspannung oder zu hohe Spannung zerstört werden. Der Akku übernimmt in gewissen Grenzen die Stabilisierung der Versorgung.
Edit: Bei einer echten Lichtmaschine sorgt der Regler dafür, das diese eine in der Spannung begrenzte Gleichspannung liefert. Und das schon ab einer gewissen Einsatzdrehzahl bis hin zur max möglichen Drehzahl und auch bei schwankender Last.
_________________
Tippfehler sind vom Umtausch ausgeschlossen.
Arbeiten an Verteilern gehören in fachkundige Hände!
Sei Dir immer bewusst, dass von Deiner Arbeit das Leben und die Gesundheit anderer abhängen!
[ Diese Nachricht wurde geändert von: der mit den kurzen Armen am 9 Sep 2014 14:42 ]
|