| Autor |
|
|
|
BID = 110961
armer_student Gerade angekommen
Beiträge: 12 Wohnort: Leipzig
|
|
Grüße!
Ich such ne Schaltung für nen JK-Flip Flop aus NAND.
Ganz wichtig bei der Sache ist:
taktflanken gesteuert
also auf gut Deutsch, dass Teil darf bei der Simulation ne flackern!
Danke schonmal im voraus! |
|
BID = 110985
perl Ehrenmitglied
       
Beiträge: 11110,1 Wohnort: Rheinbach
|
|
Ich habe nicht viel Freude daran, daß du schon wieder versucht uns deine Hausaufgaben machen zu lassen.
_________________
Haftungsausschluß:
Bei obigem Beitrag handelt es sich um meine private Meinung.
Rechtsansprüche dürfen aus deren Anwendung nicht abgeleitet werden.
Besonders VDE0100; VDE0550/0551; VDE0700; VDE0711; VDE0860 beachten ! |
|
BID = 111018
armer_student Gerade angekommen
Beiträge: 12 Wohnort: Leipzig
|
1. Habt ihr noch nie meine Hausaufgaben gemacht!
2. Habt ihr mich nur runter gemacht!
3. Habe ich mein Problem selber gelöst nachdem ihr mir ne helfen wolltet!
4. Habe ich bereits zwei JK-FF aus NAND, aber diese flackern...
5. Was hast du für ein Problem? Wozu ist dieses Board, wenn man keine Hilfe bekommt?
Warte auf eine seriöse und begründete Antwort, "DANKE"!
[ Diese Nachricht wurde geändert von: armer_student am 6 Okt 2004 21:28 ]
|
BID = 111023
Itaker Schriftsteller
     Beiträge: 568 Wohnort: Itaka
|
Ja ja schon gut, komm wieder runter und schau dir lieber das hier an
|
BID = 111025
herman Gelegenheitsposter
 
Beiträge: 65 Wohnort: Darmstadt
|
Ich hätte jetz vorgeschlagen, versuchs mal bei Google. Gib dort als Suchbegriff "jk flip flop nand" (wer hätte das gedacht) ein und klick das zweite Ergebnis an...
_________________
greetz herman
|
BID = 111032
Meister Joda Stammposter
   
Beiträge: 336 Wohnort: Hannover
|
Hi,
ohne "Nichtgoogler" wärs doch langweilig! Keiner könnte schreiben: "Such doch mal bei google!"
MfG, Meister Joda
_________________
Verstärker (im Servergehäuse)
|
BID = 111039
Itaker Schriftsteller
     Beiträge: 568 Wohnort: Itaka
|
Hallo hermen, sowas hab' ich auch, nur unter der Bezeichnung "Zweiflankengesteuert".
Soll sich der "arme" halt mal beide anschaun und uns dann sagen, ob's n'en unterschied gibt
Da sind auch noch andere "NAND"-Flipflops
|
BID = 111082
armer_student Gerade angekommen
Beiträge: 12 Wohnort: Leipzig
|
Danke für die Hilfe, aber leider sind all eure FF fast identisch und flackern ohne initialisiert zu werden. Wie man es aber anstellt, die dinger richtig zu initialisieren weiss ich aber auch nicht... 
|
BID = 111087
tuxman Neu hier

Beiträge: 23
|
Hallo,
habe eine Schaltung gefunden, weiß aber nicht ob die "flackert" !
Probier mal aus und berichte!
MfG tux
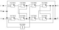
Bild eingefügt
|
BID = 111107
herman Gelegenheitsposter
 
Beiträge: 65 Wohnort: Darmstadt
|
Hi tuxman,
das sieht ziemlich ähnlich (um nicht zu sagen gleich) aus wie das, was man bei Google findet. Der Link dort verweist auf http://www.play-hookey.com/digital/images/jkf00000.gif.
edit: @armerstudent: Inwiefern flackern die FFs bei der Simulation? Mit welcher Software simulierst du? Falls du mit PSpice arbeitest, poste doch bitte mal die entsprechenden Dateien...
_________________
greetz herman
[ Diese Nachricht wurde geändert von: herman am 7 Okt 2004 0:29 ]
|
BID = 111110
Jornbyte Moderator
      
Beiträge: 7395
|
Die Frage ist "was flackert da". Beschreibe das mal. Oder noch besser, poste mal deine Eingangsbeschaltung.
_________________
mfg Jornbyte
Es handelt sich bei dem Tipp nicht um eine Rechtsverbindliche Auskunft und
wer Tippfehler findet, kann sie behalten.
|
BID = 111338
armer_student Gerade angekommen
Beiträge: 12 Wohnort: Leipzig
|
Bei der Simulation mit Multisim flackert es, es wird kein konstanter Zustand ausgegeben... 
|
BID = 111378
DonComi Inventar
     
Beiträge: 8604 Wohnort: Amerika
|
Die sollten aber nicht "flackern". Das verstehe ich nicht, wo ist das Problem? Die Teile funktionieren doch auch bei mir in meinen Schaltungen.
Ich habe schon einen Haufen Geräte mit JK gebaut, als ein-aus-Taster. Da flackert garnix und die sind alle so gemacht.
_________________
|
BID = 111539
herman Gelegenheitsposter
 
Beiträge: 65 Wohnort: Darmstadt
|
Hatte mit Multisim zwar noch nix direkt zu tun, aber hast du alle Anfangsbedingungen richtig eingegeben? Bei Spice muss man z.B. explizit angeben, dass ein Kondensator zu Anfang leer sein soll...
_________________
greetz herman
|