Anfänger braucht "Hilfe"

Im Unterforum Alle anderen elektronischen Probleme - Beschreibung: Was sonst nirgendwo hinpasst

Elektronik Forum Nicht eingeloggt       Einloggen       Registrieren




[Registrieren]      --     [FAQ]      --     [ Einen Link auf Ihrer Homepage zum Forum]      --     [ Themen kostenlos per RSS in ihre Homepage einbauen]      --     [Einloggen]

Suchen


Serverzeit: 31 12 2025  17:56:06      TV   VCR Aufnahme   TFT   CRT-Monitor   Netzteile   LED-FAQ   Oszilloskop-Schirmbilder            


Elektronik- und Elektroforum Forum Index   >>   Alle anderen elektronischen Probleme        Alle anderen elektronischen Probleme : Was sonst nirgendwo hinpasst

Gehe zu Seite ( 1 | 2 Nächste Seite )      


Autor
Anfänger braucht "Hilfe"

Problem gelöst    







BID = 598043

bsuschi

Gerade angekommen


Beiträge: 7
Wohnort: Walsrode
 

  



Hallo, jetzt ist es soweit. Ich als Masch-Bau-Mech. muss mich hier nun outen das ich keine Ahnung von Elektronik

habe. Aber egal, was soll´s. Ich hoffe ihr könnt es verstehen. Jetzt aber zu meinem Problem:

Ich wollte für meinen Junior (3Jahre) ein Nachtlicht bauen. Nun wird jeder erst einmal denken "Warum kauft er

nicht einfach eins?". Weil es so ein Nachtlicht wie ich es haben wollte vielleicht nicht gibt. Also mein Junior

gehört zu den Kinder, die im Dunkeln nicht nur ein bisschen Angst haben sondern sehr viel. Das Nachtlicht sollte

über einen Taster verfügen über den man das Nachtlicht (Zwei helle LED´s) einschalten kann. Über zwei

Potentiometer sollte nun die Leuchtzeit und die Licht-Intensität eingestellt werden. Außerdem sollte es nicht an

eine Steckdose angeschlossen werden.

Prima, endlich mal eine gute Gelegenheit meinen Kosmos XN3000 Elektronik Baukasten zu reaktivieren. Nun habe ich

zwei Nachmittage zum stecken und einen Tag zum löten verbracht und endlich war meine Kreation fertig. Super!!!
Also abends dann bei meinem Junior an´s Bett gebaut und von allen gab es ein großes .
Tja und nun kommt der Haken an der Sache. Über die Batterie habe ich mir aber keine Gedanken gemacht. Die ist

nämlich der Meinung nach fünf Tagen ist hier Schluss mit Leuchten. Sehr zum Ärgerniss meines Juniors und

natürlich mir. Ich habe einfach zu wenig Ahnung um dieses Problem zu lösen und an dieser Stelle hoffe ich auf

eure Hilfe....
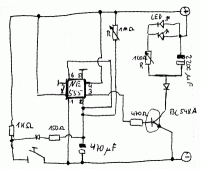
Schaltplanbild habe ich beigefügt. Wahrscheinlich ist das alles sehr grausam was ich hier veröffentliche aber

ich hoffe auf Nachsicht.

Gruß Uschi



BID = 598049

Kleinspannung

Urgestein



Beiträge: 13386
Wohnort: Tal der Ahnungslosen

 

  

Willkommen im Forum!
MAl ganz kurz:
Hast du schon mal über ein berührungssicheres,geprüftes Netzteil nachgedacht?
Und zweitens,die Led gehören entweder in Reihe,oder mit je einem Vorwiderstand parallel.


_________________
Manche Männer bemühen sich lebenslang, das Wesen einer Frau zu verstehen. Andere befassen sich mit weniger schwierigen Dingen z.B. der Relativitätstheorie.
(Albert Einstein)

BID = 598056

bsuschi

Gerade angekommen


Beiträge: 7
Wohnort: Walsrode

Nein über ein Netzteil habe ich bisher noch nicht nachgedacht. In der Nähe vom Kinderbett gibt es auch keine Steckdose. Deswegen kam es auch gar nicht weiter in Betracht.
Das mit den Led´s und den Wiederständen habe ich mal irgendwo gelesen, aber da es auch so funktioniert und ich die Helligkeit einstellen kann ist das nicht mein Hauptproblem. Aber danke für den Tip.
Mein Problem ist der Stromfresser vermutlich ja der Ne555.

Gruß Uschi

BID = 598059

DonComi

Inventar



Beiträge: 8604
Wohnort: Amerika

Moin,

Den gibts in diversen Versionen, u.a. in der Urversion mit bipolaren Transistoren und moderner in CMOS-Technik. Letzterer hat praktisch keinen Eigenverbrauch.



_________________

BID = 598060

Kleinspannung

Urgestein



Beiträge: 13386
Wohnort: Tal der Ahnungslosen

ohne Netzteil wirst das Grundübel nicht lösen können,es sei denn du nimmst größere Akkus,von denen du immer einen (einen Satz) abwechselnd lädst.
Denn du brauchst nur mal zu rechnen:
Kapazität des akkus weißt du,Stromaufnahme der Schaltung kannst messen,die Einschaltdauer grob überschlagen.
Daraus ergibt sich dann,wie lange die Funzeln maximal leuchten können.
Und der Stromfresser ist mit Sicherheit nicht der arme NE555.
Vielleicht wäre ein Bleigelakku noch ne Alternative.
Und das mit den Widerständen ist vielleicht nicht dein Problem,könnte aber eines für die armen LED in Punkto Lebensdauer werden...


_________________
Manche Männer bemühen sich lebenslang, das Wesen einer Frau zu verstehen. Andere befassen sich mit weniger schwierigen Dingen z.B. der Relativitätstheorie.
(Albert Einstein)

BID = 598063

bsuschi

Gerade angekommen


Beiträge: 7
Wohnort: Walsrode

Also erstmal finde ich es super nett von euch das ihr mir bei meinem Problem helft!!! Das musste einfach mal gesagt werden....

Jetzt aber zu der Einschaltdauer der Led´s:
Die leuchten in den 5 Tagen (mal geschätzt, höre ja über das Babyfon meinen Junior) höchstens ein halbe bis dreiviertel Stunde. Mit ganz viel Glück schaffen sie es auf eine Stunde.
Den armen NE555 möchte ich auch nicht zu nahe treten bin ja froh das es den gibt. Das grösste Problem bei dieser Sache ist eher meine Unwissenheit.

Uschi

BID = 598065

Kleinspannung

Urgestein



Beiträge: 13386
Wohnort: Tal der Ahnungslosen

Welche Kapazität hat dein Akku?
Hast den Ruhestrom deiner Schaltung mal gemessen?

_________________
Manche Männer bemühen sich lebenslang, das Wesen einer Frau zu verstehen. Andere befassen sich mit weniger schwierigen Dingen z.B. der Relativitätstheorie.
(Albert Einstein)

BID = 598073

DonComi

Inventar



Beiträge: 8604
Wohnort: Amerika

Gut, ignoriert meinen Beitrag...


_________________

BID = 598075

bsuschi

Gerade angekommen


Beiträge: 7
Wohnort: Walsrode

Sorry, habe deinen Hinweis ja zur Kenntnis genommen. Ich kann aber gerade nicht sagen was ich für einen Ne555 verbaut habe.
Werde mich mal schlau lesen darüber.
Über den 9V-Block kann ich nicht viel sagen, außer das er von Aldi ist.
Vermuten würde ich eine Kapazität von 120-140mAh.
An das Nachtlicht komme ich jetzt natürlich nicht heran, aber ich habe die Schaltung ja immer noch auf meinem Experimentierboard gesteckt. Hier messe ich einen Leerlaufstrom von 1mAh. Mit eingeschalteten LED ca. 6-7mAh.

Das würde ja auch zu den 5 Tagen passen.

Uschi

BID = 598078

Kleinspannung

Urgestein



Beiträge: 13386
Wohnort: Tal der Ahnungslosen

Na bei 9v Block brauchst dich auch nicht wundern...
Nimm mal 4 oder 6 handelsübliche NiMh Akkus in AA Größe.
Sollte die Leuchtdauer drastisch erhöhen.

_________________
Manche Männer bemühen sich lebenslang, das Wesen einer Frau zu verstehen. Andere befassen sich mit weniger schwierigen Dingen z.B. der Relativitätstheorie.
(Albert Einstein)

BID = 598080

bsuschi

Gerade angekommen


Beiträge: 7
Wohnort: Walsrode

Das ist mir beim Rechnen auch gerade durch den Kopf gegangen. Wenn man mehr Ahnung hätte würde man sich über solche Sachen vorher den Kopf zerbrechen.
Suche schon einen passenden Batteriehalter der auch in das Gehäuse passt. Die gibt es ja, Gott sei Dank, mit Clipanschluß.
Aber man sieht mal wieder wofür so ein Forum gut ist.
Vielleicht endet diese Geschichte ja dann doch noch mit einem

Aber versprochen! Euren Namen werde ich vorne auf das Gehäuse schreiben und jedesmal wenn mein Junior das Nachtlicht anmacht werde ich mich in Gedanken bei euch bedanken...:-)

Also Döspaddels wie ich wären ohne euch aufgeschmissen
Vielen Dank ich denke damit sollte das Problem gelöst werden können.

PS. Vielleicht werde ich noch den NE555 auswechseln und gegen einen LMC555 oder TLC555 austauschen...

Danke

BID = 598081

Bartholomew

Inventar



Beiträge: 4676

Wahrscheinlich tun es schon Batterien reichlich lange. Akkus brauchen eigentlich noch einen Tiefentladeschutz. Ich würde es daher mit 4 billigen Mignonzellen probieren.

Im Anhang eine Schaltung, wie ich es probieren würde.


Gruß, Bartho




[ Diese Nachricht wurde geändert von: Bartholomew am 25 Mär 2009 22:53 ]

BID = 598083

bsuschi

Gerade angekommen


Beiträge: 7
Wohnort: Walsrode

Vieln Dank....
Sehr Nett von Dir. Bin einfach überwältigt über die Hilfe....

BID = 598125

DonComi

Inventar



Beiträge: 8604
Wohnort: Amerika

Moin,

Sind die Vorwiderstände nicht ein wenig unterdimensioniert für den Betrieb bis 12V?
Sollte das Poti auf annähernd 0Ω stehen, bleiben nur die 220Ω übrig. Ein wenig wenig .

Man könnte außerdem darüber nachdenken, den großen Elko (2200µF) durch einen wesentlich kleineren zu tauschen und diesen vor den Transistor versetzten.

Würde man es optimal machen, dann würde man entweder eine PWM zur Dimmung einsetzten (mit einem zweiten 555) oder eine einstellbare Konstantstromquelle. Aber ich denke mal, man sollte es nicht übertreiben - so ist das schon OK und ich will keinesfalls Barthos Werk schmälern

_________________


[ Diese Nachricht wurde geändert von: DonComi am 26 Mär 2009 11:22 ]

BID = 598211

Bartholomew

Inventar



Beiträge: 4676


Zitat :
Sind die Vorwiderstände nicht ein wenig unterdimensioniert für den Betrieb bis 12V?
Sollte das Poti auf annähernd 0Ω stehen, bleiben nur die 220Ω übrig. Ein wenig wenig.

Stimmt, aber Fehlbedienung war schon bei Uschis ursprünglicher Schaltung möglich (bloß ein Poti vor den LEDs). 12V sollte man nur bei voll aufgedrehtem Poti anlegen. Die jetzige Dimensionierung ist optimal für eine Versorgungsspannung von 6,4V-3,6V (vier fabrikneue Mignonzellen bzw. vier fast komplett leergelutschte). Dennoch danke für den Fingerzeig


Der 2200µF-Elko scheint ja schon vorhanden zu sein. Ein kleinerer Elko vor der Transistorbasis müsste auch funtkionieren, aber dann braucht man noch zusätzlich eine Diode hinter dem 555-Ausgang. Außerdem wäre es vermutlich nützlich, den Transistor-Basiswiderstand von 3,3kΩ auf 2*1,5kΩ zu ändern und den Kondensator in der Mitte anzuschließen (dem TLC555 möchte ich den ungebremsten Ladestrom des Kondensators nicht zumuten).


Offtopic :

Zitat :
so ist das schon OK und ich will keinesfalls Barthos Werk schmälern

Dir sei vergeben


Gruß, Bartho

[ Diese Nachricht wurde geändert von: Bartholomew am 26 Mär 2009 18:31 ]


      Nächste Seite
Gehe zu Seite ( 1 | 2 Nächste Seite )
Zurück zur Seite 1 im Unterforum          Vorheriges Thema Nächstes Thema 
Das Thema ist erledigt und geschlossen. Es kann nicht mehr geantwortet werden !



Zum Ersatzteileshop


Bezeichnungen von Produkten, Abbildungen und Logos , die in diesem Forum oder im Shop verwendet werden, sind Eigentum des entsprechenden Herstellers oder Besitzers. Diese dienen lediglich zur Identifikation!
Impressum       Datenschutz       Copyright © Baldur Brock Fernsehtechnik und Versand Ersatzteile in Heilbronn Deutschland       

gerechnet auf die letzten 30 Tage haben wir 16 Beiträge im Durchschnitt pro Tag       heute wurden bisher 14 Beiträge verfasst
© x sparkkelsputz        Besucher : 188015967   Heute : 4559    Gestern : 7121    Online : 233        31.12.2025    17:56
2 Besucher in den letzten 60 Sekunden        alle 30.00 Sekunden ein neuer Besucher ---- logout ----viewtopic ---- logout ----
xcvb ycvb
0.491036891937