| Autor |
|
|
|
BID = 586416
krümmel Gerade angekommen
Beiträge: 13 Wohnort: Straufen
|
|
Seit gegrüßt,
ich bin neu hier, also bitte nicht steinigen fall ich unverständlich erkläre.
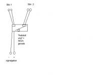
Ich suche ein Kipprelais oder eine Lösung um folgendes zu realisieren (siehe Bild).
Es wird ein Stromkreis geschlossen (Signalgeber).
Das Kipprelais soll nun Stromkreis 1 schliessen.
Bei dem nächsten Stromfluss vom Signalgeber soll Stromkreis 2 geschlossen werden.
Dabei ist mir wichtig das , wenn kein Strom fliesst, das Kipprelais in die Stellung "Null" geht sodass keines von den beiden Stromkreisen geschlossen ist.
Ich hoffe Ihr habt meine Erklärung verstanden und könnt mir helfen.
Netten Gruß |
|
BID = 586418
Mr.Ed Moderator
      
Beiträge: 36328 Wohnort: Recklinghausen
|
|
Als fertiges Teil wird es sowas nicht geben, zumindestens nicht mit der von dir gewünschten Nullstellung.
Wo soll das ganze denn eingesetzt werden, welche Spannung, welche Ströme fließen.
_________________
-=MR.ED=-
Anfragen bitte ins Forum, nicht per PM, Mail ICQ o.ä. So haben alle was davon und alle können helfen. Entsprechende Anfragen werden ignoriert.
Für Schäden und Folgeschäden an Geräten und/oder Personen übernehme ich keine Haftung.
Die Sicherheits- sowie die VDE Vorschriften sind zu beachten, im Zweifelsfalle grundsätzlich einen Fachmann fragen bzw. die Arbeiten von einer Fachfirma ausführen lassen. |
|
BID = 586424
perl Ehrenmitglied
       
Beiträge: 11110,1 Wohnort: Rheinbach
|
Ist Kipprelais eine teutonische Bezeichnung für das, was gewöhnlich als Flip-Flop oder Stromstossschalter bezeichnet wird, oder soll es tatsächlich auf mechanisches Kippen reagieren ?
|
BID = 586472
Her Masters Voice Inventar
     
Avatar auf fremdem Server ! Hochladen oder per Mail an Admin
Beiträge: 5312 Wohnort: irgendwo südlich von Berlin
|
ein bistabiles Relais das bei jedem Impuls in die andere Lage kippt und ein normales Relais mit 2 Kontaktsätzen dahinter um den "Nullzustand" zu verwirklichen könnte der ulkigen Beschreibung gerecht werden.
_________________
Tschüüüüüüüs
Her Masters Voice
aka
Frank
***********************************
Der optimale Arbeitspunkt stellt sich bei minimaler Rauchentwicklung ein...
***********************************
|
BID = 586474
krümmel Gerade angekommen
Beiträge: 13 Wohnort: Straufen
|
Naja,was heißt mechanisch ?
Wie würdet Ihr den das Problem lösen ?
Ihr habt 4 Digitale Ausgänge und 8 Stromkreise die es zu schliessen gilt.
Dabei sollte kein Stromkreis auf dauerstrom sein (wie es bei einem 2Wechsler Relais der Fall wäre)
Danke für eure Antworten
Netten Gruß
|
BID = 586478
Mr.Ed Moderator
      
Beiträge: 36328 Wohnort: Recklinghausen
|
Bitte beantworte doch mal die Fragen!
_________________
-=MR.ED=-
Anfragen bitte ins Forum, nicht per PM, Mail ICQ o.ä. So haben alle was davon und alle können helfen. Entsprechende Anfragen werden ignoriert.
Für Schäden und Folgeschäden an Geräten und/oder Personen übernehme ich keine Haftung.
Die Sicherheits- sowie die VDE Vorschriften sind zu beachten, im Zweifelsfalle grundsätzlich einen Fachmann fragen bzw. die Arbeiten von einer Fachfirma ausführen lassen.
|
BID = 586482
krümmel Gerade angekommen
Beiträge: 13 Wohnort: Straufen
|
Alles spielt sich im niedrigvolt Bereich ab d.h.
12V , 35 mAh / 0,1 mA müssen geschaltet werden.
|
BID = 586492
Mr.Ed Moderator
      
Beiträge: 36328 Wohnort: Recklinghausen
|
35mAh ist die Kapazität eines Akkus oder einer Batterie nehme ich mal an,
Mit 0,1mA und so einem kleinen Akku als Versogung kannst du kein Relais schalten, das klappt so also nicht.
_________________
-=MR.ED=-
Anfragen bitte ins Forum, nicht per PM, Mail ICQ o.ä. So haben alle was davon und alle können helfen. Entsprechende Anfragen werden ignoriert.
Für Schäden und Folgeschäden an Geräten und/oder Personen übernehme ich keine Haftung.
Die Sicherheits- sowie die VDE Vorschriften sind zu beachten, im Zweifelsfalle grundsätzlich einen Fachmann fragen bzw. die Arbeiten von einer Fachfirma ausführen lassen.
|
BID = 586494
krümmel Gerade angekommen
Beiträge: 13 Wohnort: Straufen
|
sorry mein Fehler, das war der zu schaltene Strom.
Das Relais sollte max. 30V 100 mA schalten (Velleman K8055 Board).
Netten Gruss
|
BID = 586499
Mr.Ed Moderator
      
Beiträge: 36328 Wohnort: Recklinghausen
|
Zitat :
| das war der zu schaltene Strom.
Das Relais sollte max. 30V 100 mA schalten |
 Entscheide dich mal langsam was du nun willst...
_________________
-=MR.ED=-
Anfragen bitte ins Forum, nicht per PM, Mail ICQ o.ä. So haben alle was davon und alle können helfen. Entsprechende Anfragen werden ignoriert.
Für Schäden und Folgeschäden an Geräten und/oder Personen übernehme ich keine Haftung.
Die Sicherheits- sowie die VDE Vorschriften sind zu beachten, im Zweifelsfalle grundsätzlich einen Fachmann fragen bzw. die Arbeiten von einer Fachfirma ausführen lassen.
|