| Autor |
Schützschaltung Hebezeug Auf / Ab mit Endschalter Suche nach: endschalter (873) |
|
|
|
|
BID = 348343
bernie123 Gerade angekommen
Beiträge: 17
|
|
Hallo Forum,
bin auf der Suche nach einer Schützschaltung für eine Werkstatthebebühne. Die Funktion dürfte allgemein bekannt sein d. h.:
-Tippbetrieb über Schützsteuerung für einen Antriebsmotor (3Phasen, 4 HP?? sind das PS?)
-oben und unten sitzen mechan. Endschalter (Öffner) die ein auf Anschlag fahren verhindern müssen (Endschalter werden mit 24V Steuerspannnung betrieben)
Leider bin ich als Maschinenbauer nicht ganz so fit in Etec, darum möchte ich hier dieses Problem reinstellen, mit der Bitte, evtl etwas Nachhilfe zu kriegen.
Vielen Dank im voraus
bernie
|
|
BID = 348364
schmiedt Gelegenheitsposter
 
Beiträge: 54
|
|
Hallo und herzlich willkommen im Forum!
HP sind PS so weit ich weiß (HoresPower )
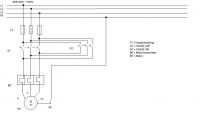
Ich habe dir mal Schaltpläne angehängt. Einen für den Steuerstromkreis und einen für den Hauptstromkreis.
Auf die Tasterverriegelung kann evtl. verzichtet werden solange keine hirnlos da hinkommen. Schaden tut sich auf keinen Fall.
Schaltungsbeschreibung:
Q1 zieht an wenn S1 gedrückt wird und nicht gleichzeitig S2 oder Q2 aktiv ist. Q2 fällt ab wenn S1 losgelassen wird oder S1 und S2 gleichzeitig betätigt werden.
Q2 zieht an wenn S2 gedrückt wird und nicht gleichzeitig S1 oder Q1 aktiv ist. Q2 fällt ab wenn S2 losgelassen wird oder S2 und S1 gleichzeitig betätigt werden.
Wenn F1 und/oder B0 ausgelöst hat ziehen die Schütze in keinem Fall an.
mfg
|
|
BID = 348372
clembra Inventar
     
Beiträge: 5402 Wohnort: Weeze / Niederrhein
|
Horse-Power = Pferdestärke (nicht Hores)
Tasterverrieglung und Verrieglung durch die Schütze ist eigentlich nicht notwendig.
Der Unterschied ist, wenn beide gedrückt werden.
Bei Schützverrieglung fährt der Motor weiter in die Richtung des Tasters, der zuerst gedrückt wurde, bei Tasterverrieglung bleibt der Motor stehen (bzw. geht aus)
Zitat :
|
Wenn F1 und/oder B0 ausgelöst hat ziehen die Schütze in keinem Fall an.
|
Falsch, wenn F2 und/oder B0 ausgelöst hat ziehen die Schütze nicht an, wenn F1 und/oder B0 ausgelöst hat bewegt sich der Motor nicht.
_________________
Reboot oder be root, das ist hier die Frage.
|
BID = 348375
bernie123 Gerade angekommen
Beiträge: 17
|
hallo hr. schmiedt,
super genau des wars, irgendwie aktiviert das auch wieder meine grauen elektrik hd partionen, werd mir alsbald die teile bei conr#d & co ordern. wie sähe evtl die tastensperre aus? nur im falle eines falles?
tnx im voraus
und viele grüsse aus grafenau
bernie
und jetzt gehts auf ins grafenauer volksfest
zu ana (??) frischen mass
|
BID = 348377
clembra Inventar
     
Beiträge: 5402 Wohnort: Weeze / Niederrhein
|
Indem man Taster nimmt, die einen Öffner und einen Schließer haben. Dabei schaltet man jeweils den Öffner des einen Tasters mit dem Schließer des anderen in Reihe, eben wie im Plan.
_________________
Reboot oder be root, das ist hier die Frage.
|
BID = 348380
Schwanti Gesprächig
  
Beiträge: 139 Wohnort: Altenmarkt
|
Hallo,
Kleine Frage am Rande, wo sind denn die Endschalter im Schaltplan, so wie gefordert? Die müssen natürlich auch noch in Reihe des jeweiligen Stromkreises. Vielleicht kann schmied die noch ergänzen, der Vollständigkeit halber..
Schwanti
|
BID = 348390
schmiedt Gelegenheitsposter
 
Beiträge: 54
|
Zitat :
| | Falsch, wenn F2 und/oder B0 ausgelöst hat ziehen die Schütze nicht an, wenn F1 und/oder B0 ausgelöst hat bewegt sich der Motor nicht. |
stimmt, hatte den Plan nachträglich geändert.
Zitat :
| | Tasterverrieglung und Verrieglung durch die Schütze ist eigentlich nicht notwendig. |
Zitat :
| | Kleine Frage am Rande, wo sind denn die Endschalter im Schaltplan, so wie gefordert? |
Dann könnten wir aus der Tasterverriegelung die Endschalter machen
Zitat :
| Vielleicht kann schmied die noch ergänzen, der Vollständigkeit halber..
|
aber sicher
mfg
|
BID = 348467
selfman Schreibmaschine
    
Beiträge: 1681 Wohnort: Seekirchen a. W.
|
Die Tastenverriegelung ist unter Umständen doch nicht so verkehrt. Man stelle sich nur folgenden Fall vor:
Maschine ist stromlos (Ausgesteckt).
Beide Taster werden gedrückt und gehalten.
Maschine wird eingeschalten (Eingesteckt).
Beide Schütze bekommen gleichzeitig Strom, da beide abgefallen sind.
Der Impuls, bis die beiden Öffner den Stromkreis unterbrechen, reicht auf jeden Fall aus, daß sich die Hauptkontakte berühren.
Fazit: Beide Schütze kaputt.
Gruß Selfman
_________________
Traue keinem Ding, das du nicht selber vermurkst hast.
|
BID = 348491
Hackes Gesprächig
  
Beiträge: 117 Wohnort: Rommerskirchen
|
Hallo,
kann mich nur anschließen. Würde immer beides verriegeln!
Aber mal ne andere Frage, die im Zusammenhang mit den Bauteilbezeichnungen entsteht. Ihr seit sicher auch alle so begeistert von den neuen Bauteilbezeichnungen. Heute kann man einen Schaltschrank ja fast komplette mit F, K und Q bezeichnen. Fand das früher viel besser.
Aber meine Frage: Heißt das Motorschutzrelais wirklich heute B? B wäre doch ein Fühler, oder??? Zweifel...
Kann die neue DIN gerade nicht auf der Platte finden. Weil, die Motorschutzschalter (PKZM) heißen ziemlich sicher F.
Weiß da jemand mehr?
Gruß aus Neuss, Hackes.
|
BID = 348496
schmiedt Gelegenheitsposter
 
Beiträge: 54
|
Zitat :
| | Aber meine Frage: Heißt das Motorschutzrelais wirklich heute B? B wäre doch ein Fühler, oder??? Zweifel... |
hat man mir letztes Jahr so beigebracht aber das ändert sich ja nicht allzu selten.
Indirekt ist er auch ein Fühler...
edit: es kommt drauf an ob man in einer Industrieklasse ist oder bei den Schlitzschlagern. Industie sagt Bx und Elektroinstallateure sagen Fx.
[ Diese Nachricht wurde geändert von: schmiedt am 9 Jul 2006 12:49 ]
|
BID = 348522
bernie123 Gerade angekommen
Beiträge: 17
|
Hallo forum,
also den schaltplan hab ich durch und find ihn oK.
Wäre eine schaltung mit einem manuellen wendeschalter, einem schütz (dreifach schliesser ohne hilfsschalter) und den oeffnenden endschalter zu realisieren? diese teile wäre
vorhanden.
tnx im voraus
bernie
|
BID = 348835
schmiedt Gelegenheitsposter
 
Beiträge: 54
|
stell ich mir schwierig vor....
|
BID = 348848
clembra Inventar
     
Beiträge: 5402 Wohnort: Weeze / Niederrhein
|
Nochmal Edit:
Was für ein Wendeschalter? Für Steuerströme oder volle Motorlast?
Im ersten Fall, also Steuerwechsler brauchst du ein zweites Schütz, wenn der Wechsler nicht Tastend ist, dies aber gewünscht oder sogar vorgeschrieben ist noch einen Taster.
Im zweiten Fall, hm, das wird schwieriger, weil die Endschalter ja richtig zugeschaltet werden müssen...
_________________
Reboot oder be root, das ist hier die Frage.
|
BID = 349268
bernie123 Gerade angekommen
Beiträge: 17
|
Hi,
der wendeschalter wär für den Motorstrom. Werde mich aber für die erste variante mit den zwei schützen entscheiden.
hab aber noch ein zuordnungsproblem beim ordern der schütze. auch bei ebäh sind sehr viele im angebot mit mehr o. weniger vernuenftigen typangaben.kann man bei steuerspannung 24 DC V auch mit AC betreiben oder muss ein gleichrichter rein? welche moellertype wäre hier angesagt?
mfg bernie
|
BID = 349312
Otiffany Urgestein
     
Beiträge: 13779 Wohnort: 37081 Göttingen
|
Hi,
noch mal gaaaaanz langsam!
Du schreibst davon, daß die Endschalter mit 24 Volt Steuerstrom betrieben werden. Darunter kann ich mir absolut nichts vorstellen. Das müßte erst noch abgeklärt werden.
Außerdem ist ín deinem Fall eine doppelte verriegelung unbedingt angebracht, d.h. Verriegelung über Taster und Schütze, denn im ungünstigsten Fall (wurde ja schon angesprochen) kann es fatale Folgen haben.
Du brauchst in jedem Fall zwei Schütze.
Gruß
Peter
|