| Autor |
|
|
|
BID = 41789
QuickeR Stammposter
   
Beiträge: 345
|
Hallo!
Also ich möchte nen Vorverstärker mit 4 Kanälen bauen!
Dazu wollte ich dann von Pollin den NF-Verstärker-IC TBC 810 AS 6 Watt (mit Kühlkörper gleich montiert) verwenden!
Bei Pollin im Katalog ist zwar gleich nen wunderbarer Schaltplan abgebildet aber jetzt hab ich hier das IC kann mir aber die PIN-Belegung nicht erdenken!
Hier noch nen Bild!
Danke
QuickeR
Hochgeladenes Bild : G100879.jpg
[ Diese Nachricht wurde geändert von: QuickeR am 1 Jan 2004 13:25 ]
|
BID = 41794
perl Ehrenmitglied
       
Beiträge: 11110,1 Wohnort: Rheinbach
|
|
Steht das wirklich TBC... drauf ?
Mir sieht das eher wie ein TBA810 aus. Darüber findest Du einiges hier im Forum. Such mal nach 810.
_________________
Haftungsausschluß:
Bei obigem Beitrag handelt es sich um meine private Meinung.
Rechtsansprüche dürfen aus deren Anwendung nicht abgeleitet werden.
Besonders VDE0100; VDE0550/0551; VDE0700; VDE0711; VDE0860 beachten ! |
|
BID = 41837
QuickeR Stammposter
   
Beiträge: 345
|
Also die PIN-Belegung hab ich jetzt gefunden!
Jetzt ist bloß die Frage wie rum der IC dann richtig ist?!
Ich kann ja schlecht auf den IC von oben drauf gucken, wenn der Kühlkörper fest mit den Kühlblechen vom IC verbunden ist, wie man auf dem Bild sieht?! Also ist der Punkt bzw. die Einkerbung nicht erkennbar!
Der einzige Anhaltspunkt wäre die kleine Einkerbung auf der einen Seite des IC`s! Entspricht das dem Punkt?
Danke
QuickeR
|
BID = 41885
chilla Schreibmaschine
    
Beiträge: 1403 Wohnort: von hier zwei mal rechts und dann zwei mal links
|
Du siehst also in der Mitte einer Stirnseite des ICs eine Einkerbung (halbrund)?
dann ist Pin 1 der Pin links oben, wenn du von oben auf den IC schaust, die pins sind links und rechts, und die Einkerbung oben.
mfg CHillA
|
BID = 41893
QuickeR Stammposter
   
Beiträge: 345
|
Also wie auf dem Bild oben ist das bei mir!
Auf der anderen schwarzen (oben zu sehenden) Seite ist die Einkerbung!
Also müsste dort eben PIN 1 sein unten sein, wenn man von oben auf den Kühlkörper guckt und die Einkerbung links am IC ist, stimmt`s?
QuickeR
|
BID = 41907
Wombat Gesprächig
  
Beiträge: 196
|
Ja, stimmt.
Aber, sag' einmal, ist der Kühlkörper nicht abziebar, wenn Du ihn oben an den seitlichen Finnen so zusammendrückst, daß sich die Klammer um den IC ein wenig lockert?
Oder ist er aufgeklebt?
MfG., wombat
|
BID = 42095
QuickeR Stammposter
   
Beiträge: 345
|
geht net ab
|
BID = 45047
andi.pdf Neu hier

Beiträge: 35 Wohnort: Bergen
|
Vielleicht etwas zu spät, aber wenn ich mich nicht irre, verkauft Pollin da den DDR-Typ A210K, der zum TBA810 kompatibel ist. Unter dieser Bezeichnung müsste was zu finden sein.
|
BID = 45230
Kaira B Schreibmaschine
    
Beiträge: 1570 Wohnort: Dresden
|
Hochgeladenes Bild : a210k.jpg
Den Aufwand kann ich allerdings nich so richtig nachvollziehen, wo in jedem billigem Schrott-Audoradio
mindestens gleichwertige wenn nicht wesentlich bessere
NF-Verstärker zu bergen sind
[ Diese Nachricht wurde geändert von: Kaira B am 30 Dec 2003 3:00 ]
|
BID = 45243
QuickeR Stammposter
   
Beiträge: 345
|
Danke Kaira!
|
BID = 45441
Kaira B Schreibmaschine
    
Beiträge: 1570 Wohnort: Dresden
|
Bitte !!!
@QuickeR :Bitte korregiere mal Deinen Eintrag auf TBA810AS!
Falls mal später einer danach sucht isses wohl besser.
@Perl:Such mal spaseshalber wie in Deinem Tipp vorgeschlagen mit "810"
aber verzweifle nicht
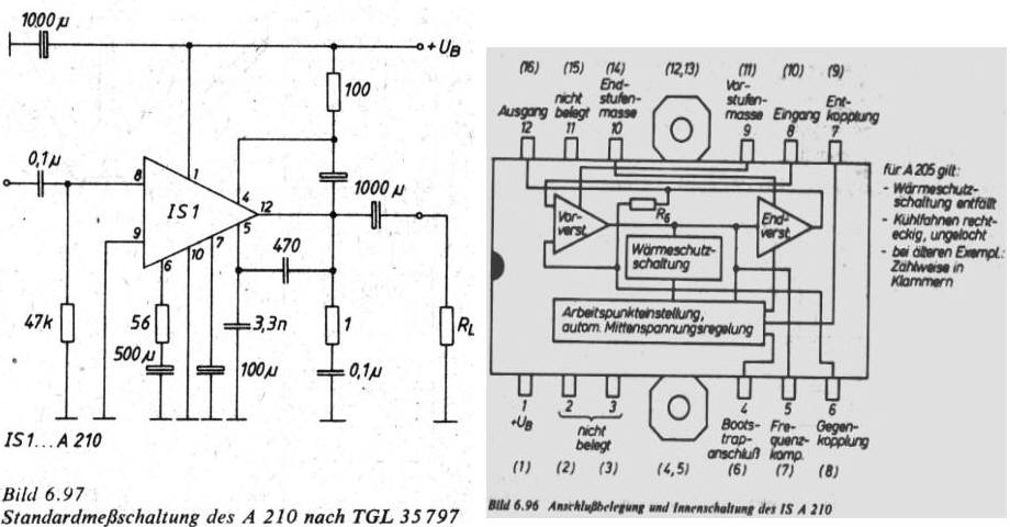
Zum IC habe ich heute noch was gefunden,hatte mal selber so ein Teil aufgebaut, geht noch heute. Bild eingefügt
Hochgeladenes Bild : A210Kmess u innen.jpg
|
BID = 45442
Kaira B Schreibmaschine
    
Beiträge: 1570 Wohnort: Dresden
|
|
BID = 45608
2SJ200 Schreibmaschine
     Beiträge: 1942 Wohnort: Österreich
|
ähm, ich denke wo pin 1 is is schon klar...
eines verwundert mich zur zeit aber etwas - wieso willst du einen uralten 6W leistungsverstärker (eigentlich eine endstufe) als vorverstärker verwenden? für was? wenn des wircklich ein vorverstärker an paar kOhm last bei 500mV pegel oder so werden soll kann ich nur abraten solche ICs zu verwenden, tust der signalqualität nix gutes...
|
BID = 45641
perl Ehrenmitglied
       
Beiträge: 11110,1 Wohnort: Rheinbach
|
Zitat :
Kaira B hat am 31 Dez 2003 05:41 geschrieben :
|
.....
@Perl:Such mal spaseshalber wie in Deinem Tipp vorgeschlagen mit "810"
aber verzweifle nicht
.......
|
Und dann finde ich das:
https://forum.electronicwerkstatt.d.....um=30
Stimmt damit etwas nicht ?
_________________
Haftungsausschluß:
Bei obigem Beitrag handelt es sich um meine private Meinung.
Rechtsansprüche dürfen aus deren Anwendung nicht abgeleitet werden.
Besonders VDE0100; VDE0550/0551; VDE0700; VDE0711; VDE0860 beachten !
|
BID = 45661
Kaira B Schreibmaschine
    
Beiträge: 1570 Wohnort: Dresden
|
 Ich fass es nicht
Es klappt mit der Suche !!!
Behaupte ab sofort das Gegenteil 
|