| Autor |
|
Suche Informationen zum "MY51" |
|
|
|
|
BID = 27175
FatalError Stammposter
   
Beiträge: 498 Wohnort: Berga /Elster
|
|
Diesmal suche ich eine Anschlussbelegung und oder ein Datenblatt zu dem IC "MY51".
Dies ist höchstwarscheinlich ein uralt-IC, der mit zu den ersten gehören müsste.
Sichtbare Daten:
-Aufschrift: MY51 V6
-6 Beinchen (drei auf jeder Seite)
-kleine Vertiefung unten rechts in Form eines Quadrates.
Wenn ihr ein Bild braucht, dann scan ich das Ding nochmal.
MFG
FatalError |
|
BID = 27463
perl Ehrenmitglied
       
Beiträge: 11110,1 Wohnort: Rheinbach
|
|
Zitat :
| | ...Dies ist höchstwarscheinlich ein uralt-IC, der mit zu den ersten gehören müsste. |
Das glaube ich kaum.
Besonders wenns im Plastikgehäuse steckt.
Die ersten ICs kamen in weißen Keramikgehäusen oder runden Blechgehäusen einher.
Es dauerte recht lange bis man sich traute, bzw. es technologisch in Griff hatte, die Chips in die nicht hermetisch dichten Plastikgehäuse einzubauen.
Auch das 6-polige Gehäuse deutet nicht unbedingt auf ein sehr altes Teil.
_________________
Haftungsausschluß:
Bei obigem Beitrag handelt es sich um meine private Meinung.
Rechtsansprüche dürfen aus deren Anwendung nicht abgeleitet werden.
Besonders VDE0100; VDE0550/0551; VDE0700; VDE0711; VDE0860 beachten ! |
|
BID = 27464
Electronicfox Schreibmaschine
    
Beiträge: 1634 Wohnort: hamburg
|
Klingt für mich nach einem Optokoppler.
_________________
Es ist nicht mein Ziel mit dem Kopf durch die Wand zu gehen, sondern mit den Augen eine Tür zu finden. Also warum kompliziert, wenn’s einfach geht.
|
BID = 27471
FatalError Stammposter
   
Beiträge: 498 Wohnort: Berga /Elster
|
@Eletronicfox
Hab ich mir auch schon gedacht.
Sind die eigentlich immer ungefähr gleich in der Anschlussbelegung?
Ich dachte da so an:
links oben: Anode Diode
links mitte: NC
links unten: Kathode Diode
rechts oben: Anode Fotodiode
rechts mitte: NC
rechts unetn: Kathode Fotodiode
* *
* *
* *
Oder ?
|
BID = 28006
Kaira B Schreibmaschine
    
Beiträge: 1570 Wohnort: Dresden
|
Ein fataler error!
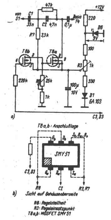
Das Teil heist SMY 51 und ist ein
Doppel-MOS-Feldeffekt-Transistor auf Si-Basis vom
p-Kanal-Anreicherungstyp, eingebaut in DIL-Plastgehäuse
mit intigrierten Gateschutzdioden.
Source von Transistor 2 ist innerhalb des Gehäuses mit
dem Substrat verbunden.
(RFT)
Hochgeladenes Bild : MY51.jpg
|
BID = 28010
Kaira B Schreibmaschine
    
Beiträge: 1570 Wohnort: Dresden
|
Das Teil hat etwa 200mW , Udg max + - 31V,Y21 3,6 ms,
Ids typ 10mA max 20mA und könnte Anfang der 70iger auf den Markt gekommen sein. TOTAL VERALTET.
Hochgeladenes Bild : spMY51.jpg
|
BID = 28027
FatalError Stammposter
   
Beiträge: 498 Wohnort: Berga /Elster
|
Danke Kaira, das ist genau der, den ich gemeint hab.
Was das "total Veraltet" angeht, hab ich ja schon erwähnt.
Danke dir nochmal für die Informationen dazu.
MFG
FatalError
|
BID = 28030
Kaira B Schreibmaschine
    
Beiträge: 1570 Wohnort: Dresden
|
Wo haste denn diesen Oldie aufgetrieben und was soller denn
bewirken?
|
BID = 28035
FatalError Stammposter
   
Beiträge: 498 Wohnort: Berga /Elster
|
Hab ich auf ner Platine gefunden, die aus einer alten (jedoch seeeeehr großen) Stoffverarbeitungsindustrie, der Greika in unserem Städtchen stammt. Die Platine hat zum damaligen, hauseigenen Kraftwerk gehört.
MFG
FatalError
|
BID = 28036
FatalError Stammposter
   
Beiträge: 498 Wohnort: Berga /Elster
|
hoppala warn Doppelpost
[ Diese Nachricht wurde geändert von: FatalError am 10 Aug 2003 21:34 ]
|
BID = 28041
Kaira B Schreibmaschine
    
Beiträge: 1570 Wohnort: Dresden
|
Nu nu, die Dinger hamse gern als Schalter in der Digitaltechnik genommen
Der 4066 war da noch unbekannt.
|