Drehfeldrichtungsanzeigegerätebausatzschaltplan (für kleines Geld) Im Unterforum Messgeräte - auch im Selbstbau - Beschreibung: Vorstellung und Diskussion über Meßgeräte, die auch für Hobby noch erschwinglich sind.
Autor |
Drehfeldrichtungsanzeigegerätebausatzschaltplan (für kleines Geld) |
|
|
|
|
BID = 189597
Wolfgang40 Gesprächig
  
Beiträge: 195 Wohnort: NRW, Niederrhein
|
|
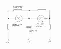
Hallo Forum,
hier möchte ich einmal einen kleinen Schaltplan veröffentlichen, mit dem man ein Prüfgerät fürs
Drehfeld schnell und einfachst selber bauen kann.
Wie ja unter Fachleuten bekannt ist, müssen z.B. Drehstrom-Steckdosen mit rechts drehendem Feld angeschlossen werden.
Mir wurde dieser Schaltplan vor Jahren, während der
Ausbildung, zugespielt und ich habe die dort erwähnten Bauteile in ein kleines Isolierstoffgehäuse gesetzt,
3 flexible Prüfleitungen mit farbigen Büchel-Steckern angeschlossen und hatte für etwa 8,- DM ein Meßgerät, was zu dieser Zeit mindestens das 10-fache gekostet hätte.
Bei richtig angeschlossenen Aussenleitern leuchtet nur die grüne, sonst nur die rote Glimmlampe.
Den Schaltplan habe ich mit ms-paint erstellt, bitte entschuldigt dessen Schlichtheit, das Wesentliche ist aber zu erkennen.
Wie das Ganze überhaupt funktionieren kann, habe ich leider inzwischen wieder vergessen, freue mich aber schon sehr auf Eure Erklärungen.
Viel Spass beim Nachbau wünscht
Wolfgang40
_________________
Prüf- und Instandsetzungsarbeiten dürfen nur Elektro-Fachkräfte unter Berücksichtigung der gültigen Sicherheitsbestimmungen durchführen. Für Schäden aufgrund "Ferndiagnosen" / Anleitungen wird keine Haftung übernommen.
EDIT by Gilb: Suchworte Drehfeldprüfgerät Drehfeldmessgerät Drehfeldprüfer eingefügt.
[ Diese Nachricht wurde geändert von: Gilb am 24 Okt 2006 22:11 ] |
|
BID = 190213
BlackLight Inventar
      Beiträge: 5423
|
|
Nachdem gestern die Simulation erfolgreich aussah, war ich eben einkaufen und hab es mal aufgebaut und getestet.
Es scheint zu funktionieren, einmal glimmt die grüne und nach dem Tauschen von 2 Messspitzen dann die rote Glimmlampe.
Habe aber 1,5W Widerstände verwendet.
Mit 2 farbigen Glimmlampen, den vier 1,5W Widerständen, dem Wima-Kondensator, drei Sicherheitsbananenbuchsen und einem Kuststoffgehäuse kam ich im Laden auf ca 11 Euro.
Also von mir vielen Dank für den Schaltplan.
P.S.
> Bei richtig angeschlossenen Aussenleitern leuchtet nur die grüne, sonst nur die rote Glimmlampe.
Ich würde es etwas anders sagen, bei einem rechten Drehfeld leuchtet die gründe, bei einem linken Drehfeld die rote.
Ich meine damit L1-L2-L3, L2-L3-L1 und L3-L1-L2 = grün und L3-L2-L1, L2-L1-L3 und L1-L3-L2 = rot.
[ Diese Nachricht wurde geändert von: BlackLight am 27 Apr 2005 10:59 ] |
|
BID = 190262
Wolfgang40 Gesprächig
  
Beiträge: 195 Wohnort: NRW, Niederrhein
|
Hallo BlackLight,
freut mich, dass es funktioniert.
Du hast natürlich recht, das die grüne Lampe bei rechts drehendem Feld leuchtet, und die Rote bei links drehendem Feld, unabhängig vom (eher willkürlich festgelegten) "Namen" des Aussenleiters.
Was ich jedoch gerne wissen wollte, ist, wie das überhaupt möglich ist. Ich bin zwar Elektromeister, jedoch mit solchen Schaltungen nicht sehr vertraut.
Kannst Du denn die Funktionsweise erklären?
Übrigens hat kurz nach mir auch ein anderer Forum-Teilnehmer eine vom Prinzip wohl gleichartige Schaltung, nur mit moderneren LEDs statt Glimmlampen, und mit LEDs für das Vorhandensein der 3 Phasen (Aussenleiter) hier veröffentlich.
Mit freundlichen Grüßen
Wolfgang40
_________________
Prüf- und Instandsetzungsarbeiten dürfen nur Elektro-Fachkräfte unter Berücksichtigung der gültigen Sicherheitsbestimmungen durchführen. Für Schäden aufgrund "Ferndiagnosen" / Anleitungen wird keine Haftung übernommen.
|
BID = 191984
Wolfgang40 Gesprächig
  
Beiträge: 195 Wohnort: NRW, Niederrhein
|
Liebes Forum,
kann mir denn gar niemand diese, doch recht schlichte, aber pfiffige Schaltung erklären?
Oder ist das zu sehr unter Eurem Niveau, einem alten Elektriker, allerdings mit Hauptschulabschluss, die Elektronik ein bisschen näher zu bringen.
Mit Hoffnung auf Antworten verbleibt
freundlichst
Wolfgang40
_________________
Prüf- und Instandsetzungsarbeiten dürfen nur Elektro-Fachkräfte unter Berücksichtigung der gültigen Sicherheitsbestimmungen durchführen. Für Schäden aufgrund "Ferndiagnosen" / Anleitungen wird keine Haftung übernommen.
|
BID = 191988
perl Ehrenmitglied
       
Beiträge: 11110,1 Wohnort: Rheinbach
|
Bezüglich L2 ist diese Schaltung ja symmetrisch, aber der Unterschied zwischen Zündspannung und Brennspannung der Glimmlampen ist hierbei entscheidend.
Dadurch wird bei brennender Lampe der Kondensator schneller aufgeladen und es ist von L2 aus gesehen nicht mehr egal welcher Pin als nächster Spannung bekommt.
_________________
Haftungsausschluß:
Bei obigem Beitrag handelt es sich um meine private Meinung.
Rechtsansprüche dürfen aus deren Anwendung nicht abgeleitet werden.
Besonders VDE0100; VDE0550/0551; VDE0700; VDE0711; VDE0860 beachten !
|
BID = 192075
Quasi Gerade angekommen
Beiträge: 19 Wohnort: Sachsen
|
Hallo Wolfgang40
Ich meine der Kondensator verschiebt die Spannung an PIN/L2
je nach Drehrichtung zu L1 oder L3 und zwar um 90°(Theoretisch)Da die Spannungen ca 120°Versetzt sind befindet sich dann das "gleiche" -oder ein ähnlich hohes- Potential an zwei Anschlüssen und bei dem anderen leuchtet die Glimmlampe
|
BID = 192152
perl Ehrenmitglied
       
Beiträge: 11110,1 Wohnort: Rheinbach
|
Quasi hat Recht, der Haupteffekt ist auf die Phasenverschiebung zurückzuführen.
Die Schaltung hat auch keine allzu großen Toleranzen:
Bei einer Netzspannung von 230V muß die Zündspannung der Glimmröhren kleiner als 180V und größer als 125V sein, sonst leuchten sie entweder nie, oder beide gleichzeitig.
Das sollte man wissen, wenn die Schaltung nicht klappt, denn viele Glimmröhren haben Zündspannungen unter 100V.
Da die Verhältnisse "zu Fuß" etwas schlecht zu durchschauen sind, habe ich die Spannungsverhältnisse mal mit einer angenommenen Zündspannung von 140V und einer Brennspannung von 100V simuliert.
Die rote und die grüne Kurve stellen die Spannungen über den entsprechenden Glimmröhren dar, während die drei anderen die Spannungen der Außenleiter gegen N repräsentieren.
_________________
Haftungsausschluß:
Bei obigem Beitrag handelt es sich um meine private Meinung.
Rechtsansprüche dürfen aus deren Anwendung nicht abgeleitet werden.
Besonders VDE0100; VDE0550/0551; VDE0700; VDE0711; VDE0860 beachten !
|
BID = 192153
perl Ehrenmitglied
       
Beiträge: 11110,1 Wohnort: Rheinbach
|
In diesem Bild habe ich willkürlich die Zündspannung so hoch gelegt, daß keine der Glimmröhren zündet.
Hier kann man ungestört sehen, wie unterschiedlich hohe Spannungen an den Lampen liegen.
Die Spitzenspannung der roten Kurve beträgt 107V und die der grünen 180V.
Wie aber oben erwähnt, muß man Glimmröhren mit einer Zündspannung von mindestens 125V einsetzen, da sich unter Belastung die Spannungsverhältnisse ändern.
_________________
Haftungsausschluß:
Bei obigem Beitrag handelt es sich um meine private Meinung.
Rechtsansprüche dürfen aus deren Anwendung nicht abgeleitet werden.
Besonders VDE0100; VDE0550/0551; VDE0700; VDE0711; VDE0860 beachten !
|
BID = 192160
Wolfgang40 Gesprächig
  
Beiträge: 195 Wohnort: NRW, Niederrhein
|
Hallo perl und quasi,
vielen Dank für Eure Mühe,
ich denke, der entscheidende Satz kam von quasi:
Zitat :
| Ich meine der Kondensator verschiebt die Spannung an PIN/L2
je nach Drehrichtung zu L1 oder L3 und zwar um 90°(Theoretisch)Da die Spannungen ca 120°Versetzt sind befindet sich dann das "gleiche" -oder ein ähnlich hohes- Potential an zwei Anschlüssen und bei dem anderen leuchtet die Glimmlampe |
So hat man dann an der einen Lampe 120° + 90° und an der anderen 120° - 90° Phasenverschiebung und die daraus resultierende Spannung, die eben mal die Glimmlampe zündet und im anderen Fal eben nicht zündet. So kann ich es mir jedenfalls begreiflich machen, ohne noch großartig mit Vektorrechnungen zu beginnen.
Besten Dank nochmals,
mit freundlichen Grüßen
Wolfgang40
|
BID = 192364
perl Ehrenmitglied
       
Beiträge: 11110,1 Wohnort: Rheinbach
|
Eigentlich hätten jetzt sieben (so oft war bis jetzt der Download) Elektriker laut aufschreien und mir unfeine Ausdrücke hinterherwerfen müssen.
Schön bunt ist die Simulation ja, aber leider totaler Mist.
So sieht kein Drehstrom aus !
Hat jemand eine Ahnung, warum die drei Spannungsquellen keine um 120° versetzten Signale erzeugen, obwohl sie das gemäß der aufgeführten Parameter tun sollten ?
_________________
Haftungsausschluß:
Bei obigem Beitrag handelt es sich um meine private Meinung.
Rechtsansprüche dürfen aus deren Anwendung nicht abgeleitet werden.
Besonders VDE0100; VDE0550/0551; VDE0700; VDE0711; VDE0860 beachten !
|
BID = 192396
Ltof Inventar
     
Beiträge: 9386 Wohnort: Hommingberg
|
Zitat :
|
Hat jemand eine Ahnung, warum die drei Spannungsquellen keine um 120° versetzten Signale erzeugen, obwohl sie das gemäß der aufgeführten Parameter tun sollten ?
|
120 DEG? GRAD? RAD?
Ein beliebter Flüchtigkeitsfehler - bei Klausuren höchst ärgerlich.
Vielleicht lag es daran? Ich kenne das Programm nicht.
Gruß,
Ltof
_________________
„Schreibe nichts der Böswilligkeit zu, was durch Dummheit hinreichend erklärbar ist.“
(Hanlon’s Razor)
|
BID = 192451
perl Ehrenmitglied
       
Beiträge: 11110,1 Wohnort: Rheinbach
|
Hier wird nur in Altgraden (Deg) gemessen, das stimmt auch mit den Formeln der Dokumentation überein.
Beim Programm handelt es sich übrigens um die Freeware LTspice/SwitcherCAD III von Linear Technologies.
Es lag aber wohl ein Softwareproblem vor. Nachdem ich noch einige Versuche gemacht hatte, wurde die Simulation völlig unplausibel.
Ich habe dann ein Update gezogen und von da an sahen die Diagramme nach Drehstrom und nicht nach Spaghetti aus.
Im Leerlauf, also ohne Glimmröhren ist die Spannung an deren Anschlüssen nun 266,4 bzw. 83,2V.
Der erlaubte Zündspannungsbereich der Glimmröhren ist nun 76...266V.
Wenn man nicht gerade Niederspannungstypen mit UZ =65V einsetzt, sollten also auch ohne besondere Vorsichtsmaßnahmen bei der Wahl der Lampen keine Probleme auftreten.
Abschließend noch ein Bild mit den Kurvenformen der nunmehr für gut befundenen Schaltung.
_________________
Haftungsausschluß:
Bei obigem Beitrag handelt es sich um meine private Meinung.
Rechtsansprüche dürfen aus deren Anwendung nicht abgeleitet werden.
Besonders VDE0100; VDE0550/0551; VDE0700; VDE0711; VDE0860 beachten !
|
BID = 192500
Wolfgang40 Gesprächig
  
Beiträge: 195 Wohnort: NRW, Niederrhein
|
Vielen Dank,
vor Allem an perl (der Moderator, der nie schläft?
Habe mir die Software auch gleich herunter geladen und
die Schaltung dort selber mal simuliert.
Bei meinen bescheidenen Elektronik- und Englisch-Kenntnissen war ich doch begeistert und überrascht von den Fähigkeiten dieser Freeware.
Danke nochmals, an Alle die sich um Antworten auf meine Frage bemüht haben.
Mit freundlichen Grüßen
Wolfgang
|
|
Zum Ersatzteileshop
Bezeichnungen von Produkten, Abbildungen und Logos , die in diesem Forum oder im Shop verwendet werden, sind Eigentum des entsprechenden Herstellers oder Besitzers. Diese dienen lediglich zur Identifikation!
Impressum
Datenschutz
Copyright © Baldur Brock Fernsehtechnik und Versand Ersatzteile in Heilbronn Deutschland
gerechnet auf die letzten 30 Tage haben wir 12 Beiträge im Durchschnitt pro Tag heute wurden bisher 1 Beiträge verfasst © x sparkkelsputz Besucher : 185622941 Heute : 2492 Gestern : 10050 Online : 196 1.10.2025 9:07 5 Besucher in den letzten 60 Sekunden alle 12.00 Sekunden ein neuer Besucher ---- logout ----viewtopic ---- logout ----
|
xcvb
ycvb
0.0599939823151
|