| Autor |
|
|
|
BID = 443179
jubr2 Gerade angekommen
Beiträge: 18 Wohnort: Regensburg
|
|
Hallo,
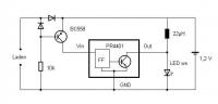
habe ein problem mit folgender Schaltung. Nach 2 Tagen ist der akku leer.
Kann es sein das der Akku nicht geladen wird? brauche ich beide Dioden überhaupt? |
|
BID = 443184
Morgoth Schreibmaschine
    
Beiträge: 2930 Wohnort: Rockenhausen (Pfalz)
|
|
Ladespannung?
Akkukapazität?
Tägliche Brenndauer?
Ich mein, es ist ja schön, dass du nen Schaltplan gepostet hast, aber ein bissel "Begleitprosa" könnte nicht schaden...
_________________
Es irrt der Mensch solang er strebt |
|
BID = 443229
jubr2 Gerade angekommen
Beiträge: 18 Wohnort: Regensburg
|
Hallo
Ladespannung? 2,6V
Akkukapazität? 1,2V 700mAh
Tägliche Brenndauer? bis sie aus ist oder Tag wird
dachte es gibt auch Leute die auf einem Schaltplan sofort einen fehler erkennen;-) ohne hintergrundwissen.
|
BID = 443238
Racingsascha Schreibmaschine
    
Beiträge: 2247 Wohnort: Gundelsheim
|
Mit was wird denn der Akku geladen? Solarzelle oder?
700mAh hört sich nach NiCd an. Falls du noch eine andere NiCd-Zelle hast klemm die mal an, kann mir gut vorstellen dass die die du verwendest den Geist aufgegeben hat. Nachts zu weit entladen und Tagsüber nicht genug geladen -> Tiefentladung und Memoryeffekt.
_________________
Fnord ist die Quelle aller Nullbits in deinem Computer.
Fnord ist die Angst, die Erleichterung, und ist die Angst.
Fnord schläft nie.
|
BID = 443240
Morgoth Schreibmaschine
    
Beiträge: 2930 Wohnort: Rockenhausen (Pfalz)
|
Soll die rote Diode ne Fotodiode darstellen? (Dafür gibt es ein extra Schaltzeichen)
Ein Manko dieser Schaltung dürfte sein, dass sie den Akku gnadenlos leerlutscht..., was eventuell bereits ein wenig an dessen Kapazität genagt hat.
Wie wird das Ding geladen? Durch ne Solarzelle? Vielleicht schafft diese es auch einfach nicht genug nachzuladen über Tag.
_________________
Es irrt der Mensch solang er strebt
|
BID = 443257
yonossic Achtung Dieser user postet unter verschiedenen Namen
|
Zitat :
| | Ein Manko dieser Schaltung dürfte sein, dass sie den Akku gnadenlos leerlutscht |
HUMBUG! Sieh ins Datenblatt des PR4401 bevor du HERUMPHANTASIERST!
|
BID = 443258
jubr2 Gerade angekommen
Beiträge: 18 Wohnort: Regensburg
|
Hallo,
die rote Diode war ursprünglich gedreht eingebaut. Die Solarzelle liefert bis zur diode 2,6V am akku selber kommen aber nur 1,2 V an. Der Akku ist neu und die Schaltung besteht seit 1 Woche.
Was müsste geändert werden? Denke auch den 10k widerstand durch einen Fotowiderstand zu tauschen. Die wird aber an der Akkuladung nichts ändern.
|
BID = 443261
admin Administrator
       
Beiträge: 5034 Wohnort: Heilbronn
|
Zitat :
yonossic hat am 14 Jul 2007 22:22 geschrieben :
|
Zitat :
| | Ein Manko dieser Schaltung dürfte sein, dass sie den Akku gnadenlos leerlutscht | HUMBUG! Sieh ins Datenblatt des PR4401 bevor du HERUMPHANTASIERST!
|
Frage :
Fliest nicht über die Induktiviät und über die LED ein Strom, wenn der Accu nicht geladen wird ? Könnte der Accu sich dadurch eventuell entladen ?
Denke aber vermutlich falsch da sich yonossic besser auskennt.
|
BID = 443266
Morgoth Schreibmaschine
    
Beiträge: 2930 Wohnort: Rockenhausen (Pfalz)
|
Zitat :
yonossic hat am 14 Jul 2007 22:22 geschrieben :
|
Zitat :
| | Ein Manko dieser Schaltung dürfte sein, dass sie den Akku gnadenlos leerlutscht | HUMBUG! Sieh ins Datenblatt des PR4401 bevor du HERUMPHANTASIERST!
|
| Code : |
Electrical Characteristics
Vcc=1.5V, Ta = 25° one LED connected, unless otherwise noted.
C,
Parameter Conditions Min Typ Max Units
Supply Voltage, min. operating L1 = 10...22µH 0.70 0.80 V
min. startup 0.90 0.95 V
Ta = 25° C
max. operating 1.90 V
|
|
Eigentor!
Wobei mit dem Abfall am Transistor ist es dann tatsächlich noch erträglich. Das ist aber nicht dem PR4401 zu verdanken.
@jubr2
Zitat :
| | die rote Diode war ursprünglich gedreht eingebaut |
Soso... und wie erkennt die Schaltung im Moment, ob es hell ist?
_________________
Es irrt der Mensch solang er strebt
[ Diese Nachricht wurde geändert von: Morgoth am 14 Jul 2007 22:50 ]
|
BID = 443294
hannoban Schreibmaschine
    
Beiträge: 1722 Wohnort: Hinter Düsseldorf die 4. Mülltonne links
|
Zitat :
| Eigentor!
Wobei mit dem Abfall am Transistor ist es dann tatsächlich noch erträglich. Das ist aber nicht dem PR4401 zu verdanken. |
Wo liegt das Problem eine NiCd-Zelle bis auf 0,6 Volt zu entladen? Das vertragen die wesentlich besser als die sog. "Erhaltungsladung" die ich persönlich schon in "Zerstörungsladung" umgetauft habe. Manche behaupten sogar es währe gut, wenn die Zelle jedesmal soweit entladen würde. Das würde dem Memoryeffekt entgegen wirken.
MfG hanno...
|
BID = 443296
jubr2 Gerade angekommen
Beiträge: 18 Wohnort: Regensburg
|
@ Morgoth:
Hallo,
bei Dir muss man ganz schön aufpassen das man sich nicht in ein Streitgespräch verwickelt.
anbei die orginal Schaltung, wie Du siehst ist die Diode da schwarz. Beim anschliesen der Solarzelle am Tag! brannte die LED weiter erst die gedrehte Diode brachte abhilfe.
Im Prinzip ist die Solarzelle der Fotowiderstand. Im moment leuchtet die LED schon bei leichter Dämmerung. Deswegen denke ich einen echten LDR einzubauen damit sie erst bei Dunkelheit leuchtet.
|
BID = 443312
Morgoth Schreibmaschine
    
Beiträge: 2930 Wohnort: Rockenhausen (Pfalz)
|
@hannoban
Vielleicht sollte ich einfach meinen Mund halten, denn mit den verschieden Akkutypen kenne ich mich wirklich nicht gut aus...
@jubr2
Ich suche eigentlich keinen Streit.
Ursprünglich wollte ich dir auch nur ein paar Informationen entlocken, so dass dir vernünftig geholfen werden kann. Die hast du mit deinem letzten Post nun endlich vollständig gegeben.
Ja, mit dem Originalplan ist wohl die Schaltung dauerhaft aktiviert.
wenn man da aber ne Fotodiode reinhängt, dann müsste sie bei Helligkeit abschalten.
_________________
Es irrt der Mensch solang er strebt
|
BID = 443315
jubr2 Gerade angekommen
Beiträge: 18 Wohnort: Regensburg
|
@Morgoth:
Du meinst anstatt der verdrehten Diode? oder?
hab mal das Ding bei Sonnenschein zerlegt und gemessen. Bei eingebauter Batterie liegen an selbiger 1,3 V an (ausgebaut 1,9V). Glaube der Akku wird schon geladen, aber da die LED schon bei abnehmen der Ladespannung zu leuchten beginnt ist bei Dunkelheit nichts mehr zu holen (denke so von 18-22 uhr) wie muss die Schaltung geändert werden um mit Fotowiderstand zu funktionieren. Anstatt dem 10k einen LDR hängen funzt nicht.
|
BID = 443316
Morgoth Schreibmaschine
    
Beiträge: 2930 Wohnort: Rockenhausen (Pfalz)
|
Eine Fotodiode statt der Diode aus dem Originalplan.
KEIN LDR! Das ist was anderes, wenn LDR, dann auch nicht statt der 10kOhm, sondern statt der Diode.
_________________
Es irrt der Mensch solang er strebt
|
BID = 443321
jubr2 Gerade angekommen
Beiträge: 18 Wohnort: Regensburg
|
Hallo,
Fotowiderstand (LDR)70-200k hab ich hier und konnte gleich mal testen. Diode raus LDR rein.----Die LED leuchtet dauernd
|